郑重声明
返回列表

双行红头文件_01(1).png
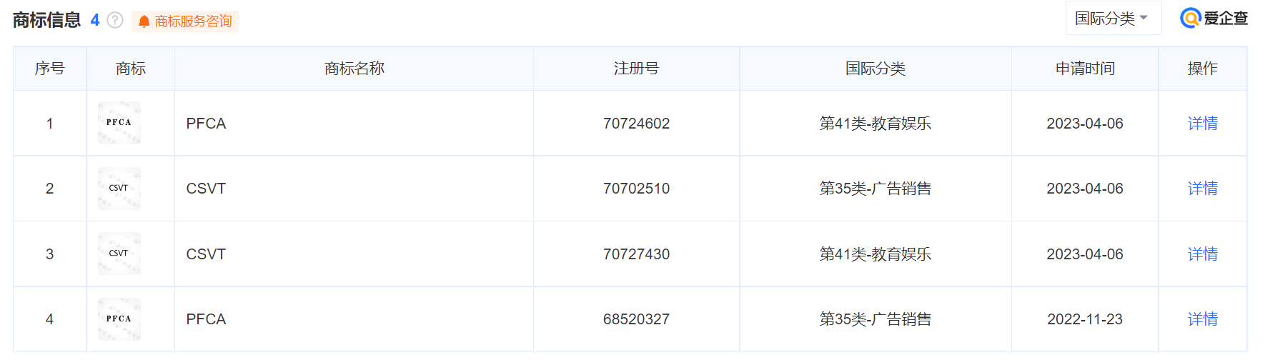
以下微信中搜索“中体国培”出现的中体国培小程序并非我司创建,现在已经发现我司代理及客户误以为此小程序为我司所属,并且在中体国培小程序内进行缴费,请大家注意辨别!cd159b3238229c195e7b9ac2d76bac7.jpgPFCA中体国培已申请的商标image.png
关于此声明发布后,广东中体国培认定我方名誉权侵权并提起诉讼,现将我方PFCA中体国培胜诉文件公布如下:
辽宁中体国培-判决书_00.png辽宁中体国培-判决书_01.png辽宁中体国培-判决书_02.png辽宁中体国培-判决书_03.png辽宁中体国培-判决书_04.png辽宁中体国培-判决书_05.png